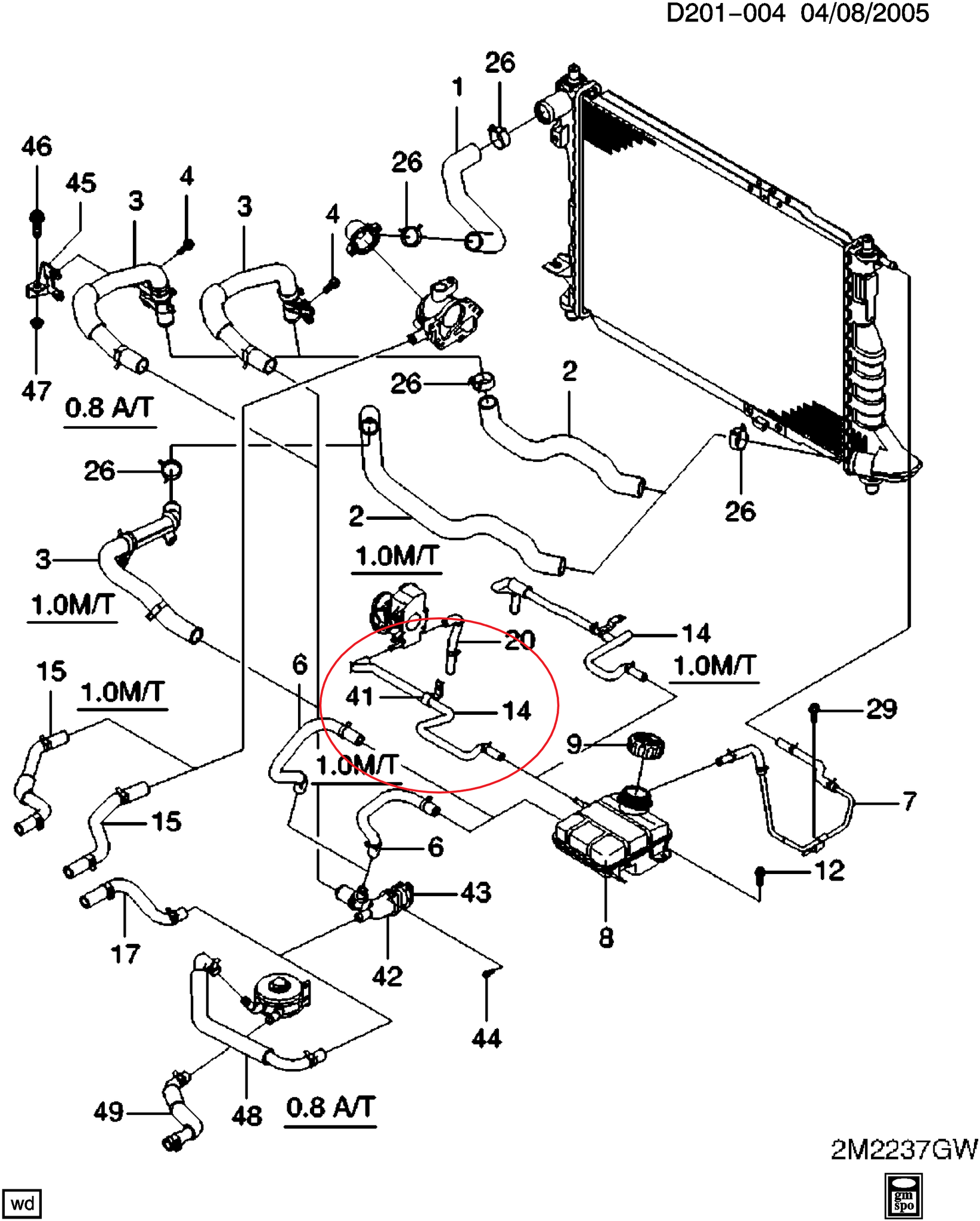
MANGUERA CHEVROLET MATIZ SPARK SALIDA CAJA TERMOSTATO CODIGO 96492883