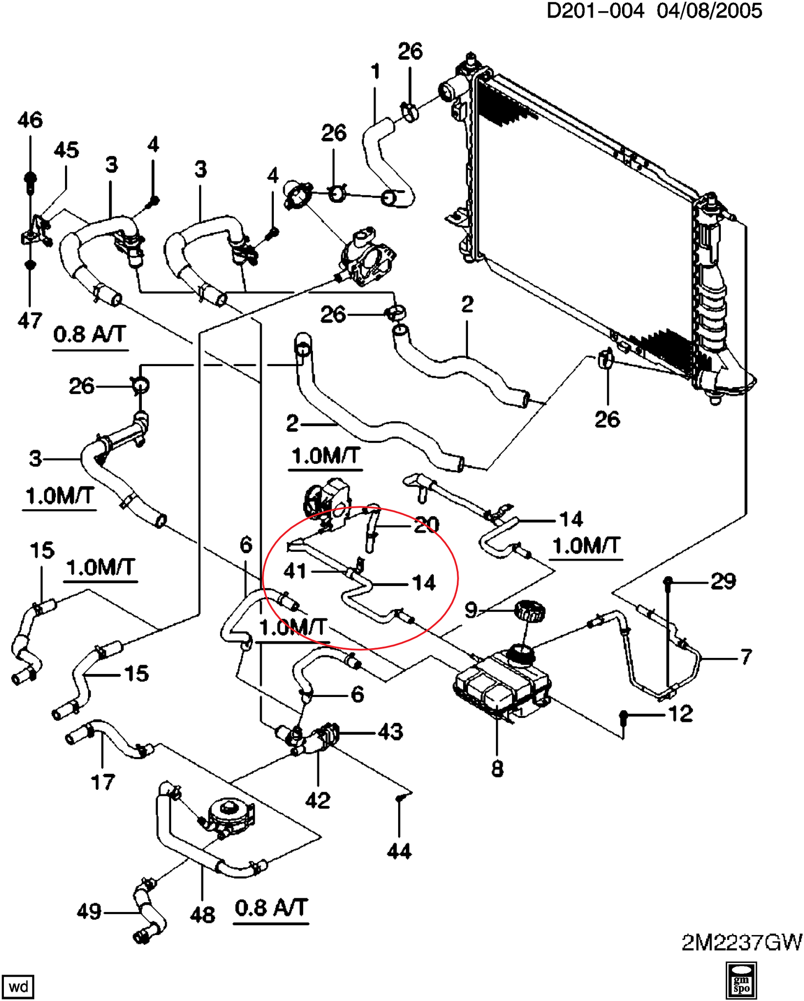
MANGUERA DEPOSITO CHEVROLET MATIZ SPARK SALIDA A CAJA TERMOSTATO CODIGO 96436303